Einbauhinweise
| Hebel | RtR Magnetventil | Nenndurchmesser | Ports (Rohrdurchmesser) | |||||||||||
|---|---|---|---|---|---|---|---|---|---|---|---|---|---|---|
| Bestell- nummer |
CAD | NLA** | Pos | Totmann | Leitungs- dose |
Bajonett | Entlüftungs- filter * |
Port 1, 12, 21, 22, 13-4 | Port 3 | 1 | 12 | 21 | 22 | 13-4 |
| 338 057 101 |
|
1 | DN 6 | DN 9 | 8x1 | 8x1 | 8x1 | |||||||
| 338 057 102 | NLA | 2 | DN 6 | DN 9 | 8x1 | 8x1 | 8x1 | |||||||
| 338 057 111 | NLA | 1 | DN 6 | DN 9 | 8x1 | 8x1 | 8x1 | |||||||
| 338 057 112 | NLA | 2 | DN 6 | DN 9 | 8x1 | 8x1 | 8x1 | |||||||
| 338 057 121 | NLA | 1 | DN 6 | DN 9 | 8x1 | 8x1 | 8x1 | 8x1 | ||||||
| 338 057 122 | NLA | 2 | DN 6 | DN 9 | 8x1 | 8x1 | 8x1 | 8x1 | ||||||
| 338 057 131 | NLA | 1 | DN 6 | DN 9 | 8x1 | 8x1 | 8x1 | 8x1 | ||||||
| 338 057 132 | NLA | 2 | DN 6 | DN 9 | 8x1 | 8x1 | 8x1 | 8x1 | ||||||
| 338 058 101 |
|
1 | DN 6 | DN 9 | 8x1 | 8x1 | 8x1 | |||||||
| 338 058 102 | NLA | 2 | DN 6 | DN 9 | 8x1 | 8x1 | 8x1 | |||||||
| 338 058 121 |
|
NLA | 1 | DN 6 | DN 9 | 8x1 | 8x1 | 8x1 | 8x1 | |||||
| 338 058 122 | NLA | 2 | DN 6 | DN 9 | 8x1 | 8x1 | 8x1 | 8x1 | ||||||
| 338 059 101 |
|
1 | DN 6 | DN 10 | 8x1 | 8x1 | 8x1 | |||||||
| 338 059 102 | NLA | 2 | DN 6 | DN 10 | 8x1 | 8x1 | 8x1 | |||||||
*) Entlüftungsfilter 059 521 709 montiert
**) NLA = No Longer Available (Nicht mehr verfugbar).
Montagestellung des Hebels (Pos)
| Position 1 | Position 2 |
|---|---|
![]() |
![]() |
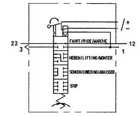
Symbol
| 338 057 101/102/111/112 | 338 057 121/122/131/132 | 338 058 101/102 … |
|---|---|---|
![]() |
![]() |
![]() |
| 338 058 121/122 | 338 059 101/102 | |
![]() |
![]() |






