Einbaurichtlinien
Der ALB-Regler wird am Aufbau an den dafür vorgesehenen Befestigungsbohrungen mit Schrauben, Muttern und Unterlegscheiben befestigt.
Befestigung des Steuerseils
Die Feder des Steuerseils wird mit einer Sechskantschraube M 12 an der an der Achse angebrachten Konsole befestigt. Die Konsole sollte mindestens 8 mm dick sein. Wird die Konsole angeschweißt, muss hierzu vom Achsenhersteller eine Genehmigung eingeholt werden. Die Schweißnähte müssen auf jeden Fall in der neutralen Zone liegen. Steuerseil mit Seilklemme in Steuerhebelstellung „Leer" in ermitteltem Abstand (Hebellänge) vom Drehpunkt des Steuerhebels aus anbringen (Anzugsdrehmoment der Klemmschraube 6 Nm). Um das Setzen der Fahrzeugfedern auszugleichen, ist die beigefügte 5 mm dicke Scheibe unter der Zugfeder des Steuerseiles anzubringen. Hat sich die Fahrzeugfeder um ca. 5 mm gesetzt, wird diese Scheibe entfernt. Eine weitere Nachstellmöglichkeit besteht in der Verstellung des Steuerseils im Klemmstück. Um Zerstörungen oder zu starken Verschleiß der Anlenkungsteile zu vermeiden, sind folgende Punkte beim Einbau der Seilanlenkung zu beachten:
- Die Länge des Steuerseiles soll möglichst groß sein.
- Das Steuerseil muss in der Bewegungsebene des Hebels liegen.
- Auf gute Beweglichkeit aller Teile achten.
- Steuerseil möglichst lotrecht zum Steuerhebel an Konsole anbringen.
Das Steuerseil wird am Steuerhebel des ALB-Reglers mit einem je nach Ausführung unterschiedlichen Klemmstück befestigt. Beim Entladen des Fahrzeuges zieht die Zugfeder über das Seil den Steuerhebel nach unten. Wird das Fahrzeug beladen, dann wird der Steuerhebel durch eine Schenkelfeder gehoben, bis das Steuerseil gespannt ist. Durch die Anlenkung mit Seil und Feder ist es möglich, auch bei Doppelachsaggregaten den Federweg von einer Achse abzugreifen.
Funktion
Wird der Beladungszustand des Fahrzeuges verändert, so ändert sich zwangsläufig die Durchbiegung der Fahrzeugfedern. Beim Beladen des Fahrzeuges nähert sich der Fahrzeugaufbau den Achsen, beim Entladen wird der Abstand zwischen Fahrzeugaufbau und Achse größer. Der Fahrzeugaufbau führt eine Wegänderung durch, die man zur Steuerung des ALB-Reglers nutzt.
Der automatische lastabhängige Bremskraftregler (ALB) wird am Fahrgestell des Fahrzeugs montiert, das Steuerseil zusammen mit der Feder wird an einer halterung an der Achse angeschraubt oder angeschweißt. Das Steuerseil wird mit einer Schelle am Steuerhebel des ALB's befestigt. Beim Entladen des Fahrzeuges zieht die Zugfeder über das Seil den Steuerhebel nach unten. Wird das Fahrzeug beladen, dann wird der Steuerhebel durch eine Schenkelfeder gehoben, bis das Steuerseil gespannt ist.
Der eventuell am Steuerhebel angebrachte Stoßdämpfer nimmt zusammen mit der Zugfeder die durch Fahrbahnunebenheiten entstehenden dynamischen Stöße auf. Der Bremskraftregler ist statisch wirkend, d.h. Federwegänderungen, die während einer Bremsung auftreten, ändern das Regelverhältnis, und somit den Bremsdruck, nicht. Der Bremskraftregler ist während des Bremsvorganges leicht verriegelt.
Lösestellung, Halblast
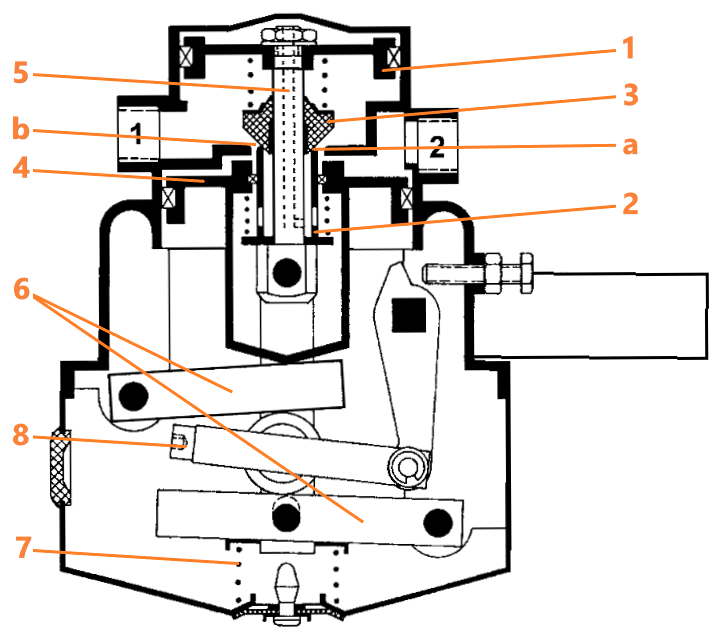
Der sich im oberen Teil des Gehäuses bewegende Bremskolben 1 ist mit der Ventilhülse 2 über die Kolbenstange 5 verbunden, auf der der Doppelventilkegel 3 gleitend gelagert ist.
Die Ventilhülse 2 führt die Ausgleichsfeder und den Wiegekolben 4. Der Aufnahmebolzen, der zum Wegausgleich über eine Druckfeder 7 am Blechgehäuse abgestützt wird, hat über die Wiegehebel 6 und das Verstellbare Gleitstück 8 kraftschlüssige Verbindung mit dem Druckstück.
Eine vom Steuerhebel ausgeführte Wegänderung nach oben bzw. nach unten bewirkt ein Verschieben des Gleitstückes 8 und ändert somit das wirksame Übersetzungsverhältnisses zwischen Bremskolben 1 und Wiegekolben 4.
In Stellung „Leer" kann der eingesteuerte Druck P1 zum ausgesteuerten Druck P2 im Regelverhältnis 6:1 gemindert werden.
Jedes Regelverhältnis zwischen „Leer" und „Beladen" ist stufenlos einstellbar.
In der Lösestellung schließt der Doppelventilkegel 3 den Einlasssitz b; Anschluss 2 hat über den offenen Auslasssitz a Verbindung mit der Atmosphäre.
![]() |
Bremsstellung, Halblast
Beim Betätigen der Bremse strömt Druckluft durch Anschluss 1 und drückt den Bremskolben 1 nach oben, wodurch die Ventilhülse 2 gegen den Doppelventilkegel 3 gedrückt wird.
Der Auslasssitz a ist nun geschlossen, der Einlasssitz b geöffnet. Die eingesteuerte Druckluft strömt zum Anschluss 2 und beaufschlagt den Wiegekolben 4. Die Kraft am Wiegekolben wird über das Druckstück 5 und die Wiegehebel 6 auf den Bremskolben 1 übertragen und bewegt diesen nach unten.
Der Einlasssitz b wird geschlossen, der Auslasssitz a bleibt geschlossen. Es ist eine sogenannte Teilbremsstellung erreicht.
Jede Druckänderung am Anschluss 1 bewirkt eine Druckänderung am Anschluss 2, entsprechend dem eingestellten Regelverhältnis. Wird Anschluss 1 entlüftet, geht der Bremskolben 1 in seine Ausgangslage zurück. Anschluss 2 wird über den nun geöffneten Auslasssitz a und die Entlüftungsklappe am Blechgehäuse entlüftet.
Der Bremskraftregler hat eine proportionale Charakteristik, die mit einer Druckdurchsteuerung von P=0,3 ... 0,4 bar zur Überwindung der Ansprechstufen nachgeschalteter Bremsgeräte bzw. der Radbremse ausgestattet ist. Bei Abriss des Steuerseils wird der Steuerhebel durch den Stoßdämpfer bzw. die Schenkelfeder in Stellung „Beladen“ angehoben.
Der am Anschluss 1 eingesteuerte Druck wird ungeregelt am Anschluss 2 ausgesteuert.
Bremsstellung, Beladen
Die Übersetzung der Kolben und Wiegehebel ist so aufeinander abgestimmt, dass in Stellung „Beladen“ der im Anschluss 1 eingesteuerte Druck P1 ungeregelt - d.h. Regelverhältnis P1 / P2 = 1:1 - aus Anschluss 2 angesteuert wird.
Wartung
- Funktions- und Dichtheitsprüfung
- P2 leer und P2 beladen entsprechend den Angaben auf dem ALB-Hinweisschild prüfen
- Es ist erforderlich dass der ALB bei Prüf- und Einstellarbeiten so befestigt wird, dass er sich in senkrechter Lage befindet und die Entlüftung nach unten weist
Simulieranschluss
- Variabler Einbau (gut erreichbar)
- Ermöglicht die Prüfung nach EG/ECE, sowie nach § 29 StVZO in Deutschland
