Setting the mechanical LSV
Installation
Brake datas :
- P1 = 6,5 bar
- P2laden = 6.0bar
- P2unladen = 2.0bar
- Suspension deflection dFs = 35mm
- Calculate control ratio i R = 6.0bar/2.0bar = 3:1
- Derived from nomogram: lever length L = 60 mm
You can download the nomogramm by clicking on it,
Or use our Haldex Calculator for Lever length
The unladen braking pressure must be adjusted after installing the load sensing valve on the vehicle.
The adjustment procedure is described in the following
- Press control lever downwards as far as it will go.
- Apply a pressure P1 = 6.0 bar to port 1, measure the modulated pressure P2 from port 2.
- Raise the control lever in stages - after venting P1 each time - until the required unladen braking pressure P2 is obtained for P1 = 6.0 bar.
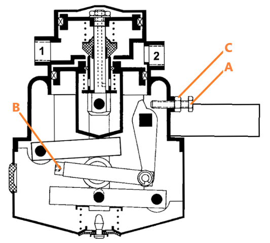
- Hold control, lever in this position, screw in stop screw A (M 6, 10 mm) until a resistance can be felt and tighten counter locknut C.
Mounting the control cable: the spring of the control cable is secured by means of a hexagon bolt M 12 to the bracket mounted on the axle. The minimum thickness of the bracket should be 8 mm. If the bracket is welded, then permission must be obtained from the axle manufacturer for this purpose. The weld seams must always be in the neutral zone. With the control lever in unladen position, move the control cable together with the clip into the position at a determined distance (lever length) from the pivot point of the control lever (tightening torque of clamping screw 6 Nm). A 5 mm thick washer is provided under the tension spring of the control cable in order to balance out the setting of the vehicle springs. This washer is removed when the vehicle spring has set by approx. 5 mm. Further readjustment is possible by moving the control cable in the clamp. This cable and spring arrangement makes it possible to measure the spring path of one axle even in the case of double axle units. In order to avoid damage or excessive wear of the link parts, the following points must be observed when installing the cable link:
- The control cable must be as long as possible.
- The control cable must be located within the moving plane of the lever.
- Ensure all parts move freely.
- Arrange control cable on the bracket as close to the vertical as possible with respect to the control lever.
Checking the modulated brake pressure in the control lever position "Load":
Remove hexagon screw M 12 (for holding the control cable to the bracket). The control lever or control cable moves upwards by the amount of the spring travel. Apply 6.0 bar at port 1 and you should see 6.0 bar at port 2. The technical data information is stamped on the separately supplied information plate, part No. 028 0216 09. The information plate must be arranged securely and clearly visible in the vicinity of the vehicle chassis I.D. plate, i.e. on the front left of the vehicle viewed in the direction of travel. Basic adjustment necessary when the values specified in point 3 and point 5 are not obtained. The load sensing valve is adjusted at the manufacturer so that at 6.0 bar input pressure at port 1 and with the control lever in the laden position
- 6.0 bar output pressure is obtained at port 2 (control ratio P1/P2 = 1:1)
- At 6.0 bar input pressure at port 1 and the control lever in the unladen position a 1.0 bar = + 0.3 bar pressure is obtained at port 2 (control ratio P1/P2 = 6:1).
This adjustment must not be changed. However, basic adjustment is necessary if this setting has been changed.

Basic adjustment of the load sensing valve
- The control lever must be in the laden position as the result of the automatic return.
- Remove the rubber cap on the housing.
- Using screwdriver DIN 911-5 turn the screw B for fine adjustment (on slide piece) as far as it will go in a clockwise direction.
- Apply a pressure of 6.0 bar at port 1 and measure the modulated pressure at port 2. If the basic adjustment is correct, P2 must be equal to P1. If this is not the case, the difference between P1 and P2 must be adjusted until equal.
- Allow air to escape at port 1 and turn fine adjustment screw B in an anticlockwise direction.
The number of turns equals the difference determined in (d) multiplied by 10.
Example :
- P1 = 6.0 bar
- P2 = 5.7 bar
(d) = P1 - P2 = 6.0 bar - 5.7 bar = 0.3 bar
0.3 bars x 10 = 3 turn.
- Attach rubber cap to housing.
- Apply 6.0 bar at port 1, measure pressure at port 2. it should now equal Port 1
- Vent port 1, press control lever downwards as far as it will go.
- Apply 6.0 bar at port 1, the pressure at port 2 must equal 1.0 + 0.3 bar,
If the value at port 2 is not obtained, release the counter nut C of the stop screw A and vary the screw-in depth of the stop screw A so that at a pressure of 6.0 bar applied at port 1 and with the control lever in the unladen position, a pressure of 1.0 bar + 0.3 bar is obtained at port 2.
